少老师好湿好滑真紧好爽免费,好舒服小雪快深点小说,国产精品se,岳的乱系列18部分部分

無憂MBA論文網MBA論文 > MBA課程論文 > 運營管理 > 正文

百事公司工廠生產計劃管理的現狀分析

時間:2015-01-23 來源:m.donnamorgan.com.cn作者:admin
第1章緒論
 
1.1 研究背景
百事食品公司是一個典型的快速消費品制造和銷售企業。產品生產過程屬于連續流程式生產方式,其產品主要是樂事薯片、奇多粟米脆等一系列的休閑類小食品。產品的保質期短、質量的保障要求高,較短的產品生命周期需要不斷開發新產品或新口味。市場需求的預測準確性較低,真實的需求難以掌握。另外受到季節、促銷和競爭對手的影響較大,生產能力與供應需求的不均衡性明顯。貨物的價值不高、庫存空間耗用較大,通過足夠的庫存來應付波動終端需求是常規的運行模式。處于快速消費品行業的百事食品具有客戶分布范圍廣、消費頻率高、產品更新快、客戶忠誠度低、對消費便利性要求高等特點,這些也決定了市場需求隨機性強、變化快的特征。
步入21世紀以來的全球化市場,現代通信技術、發達便利的運輸業、以及開放與自由貿易政策等使全球融合成為一個統一的大市場。企業的生產經營也在發生著巨大的變化,產品的生產周期縮短、產品更新加快、產品生產由少品種大批量向多品種小批量甚至是單件生產的生產類型過渡、產品上市時間縮短、產品質量日益提高、產品成本日趨降低、產品的售后服務日趨完善,這對百事食品面臨的現代生產管理提出了新要求。
以上這些企業和市場特征使得百事食品面臨著前所未有的壓力,僅僅依靠傳統的降低成本和提高產品質量的手段是無法確保其在市場競爭中立于不敗之地的。成功的企業必須既能快速生產滿足消費者當前所需要的產品,又不會生產過剩導致積壓浪費,既能保證產品的質量和較低生產成本,又能迅速滿足市場多樣化和不確定的需求。因此準確無誤地生產客戶所需并迅速交付產品的能力成為企業競爭力的核心,而優化的生產計劃管理則是決定企業上述能力的基石和持續發展的保證。?
...............................
 
1.2研究的目的與意義
在當今以市場需求為導向的時代,一個企業的產品在市場上是否占有優勢地位,主要取決于該產品上所凝聚的企業綜合實力。如果能夠做到以更低的價格、更高的質量、更快的響應速度、準時向客戶提供個性化的產品,那么它就能獲取更多的市場份額,從而在競爭中獲勝。從事企業營運管理的人都知道,這種企業核心競爭力是通過卓越的生產運營及管理而形成的。生產計劃體系是企業生產運作系統總體方面的計劃,是企業戰略發展的重要組成部分。而生產能力計劃和綜合生產計劃大綱則是企業年度的戰術性計劃,是指導企業計劃期內生產活動的綱領性方案。在己有企業資源的約束下,在盡量短的時間內,如何合理的規劃和利用企業內外部的資源,向用戶提供低成本、高質量、符合用戶個性化需求的產品,是企業在現代環境下生存的關鍵。?
綜合生產計劃是聯系長期與短期計劃的橋梁,由于產品的市場需求不斷波動而企業又需要均衡生產,面對這個矛盾需要制定有效的綜合計劃達到需求和生產能力大致平衡,并使整個計劃期間成本最小。優化的綜合生產計劃能夠對企業有限的資源作出最佳方式的調配和最有利的使用,以便最充分地發揮資源的效能,從而實現企業營運成本的最小化和營運競爭優勢。
該論文能將MBA學習到的企業戰略,運營管理,精益生產和運籌學等理論與工作單位的實際操作實務聯系起來,既是對兩年學習的總結和深化,又能提高當前實際工作效率,真正做到理論結合實際和學有所用。另外,若該生產能力和綜合生產計劃模型實施方案獲得成功后,再推廣到百事其他工廠實現資源的信息共享,全面提升整個公司的營運計劃管理水平。
...............................
 
第2章企業生產計劃管理的相關理論
 
2.1生產計劃的層次和特點
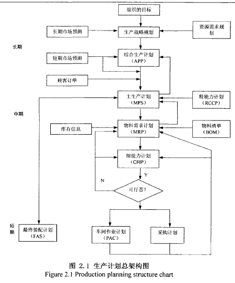
對于處于制造行業的企業來說,其生產經營計劃涉及供應、銷售、設備投資及維修、資金、成本控制、技術發展等多個領域,具有多目標、多層次、多因素的特點。企業的各種計劃一般可以分為戰略層、戰術層和作業層三個層次。從計劃的時間跨度上來講,可分為長期計劃、中期計劃和短期計劃三個層次,這三個層次的計劃構成一個完整的計劃體系。具體計劃的分類和特點,如表2.1和圖2.1所示:
..........................
 
2.2生產能力計劃
生產運作能力是企業在一定時間內和一定的技術組織條件下直接參與生產運作的固定資產,所能生產的一定種類和一定質量的最大產品數量或可能加工處理的一定原材料的最大數量。生產計劃制訂過程中,需要進行校驗以確定企業中可提供的生產能力和制造需求之間是否平衡。如果不能提供足夠的能力或者存在過剩的能力而沒有發現,就不能滿足顧客的需求,也就無法體現出一個有效的生產計劃系統應有的價值。
2.2.1生產能力需求與生產計劃的關系
制定企業生產計劃時,核定生產能力是一項十分重要的工作,是實現企業生產計劃綜合平衡分析中的重要內容。正確核定生產能力是企業經營決策的前提,同時在生產能力的核定過程也能發現問題并實施改善。圖2.4表示了生產計劃系統框架中,各個層次的生產計劃與能力計劃模塊之間的關系。
........................
 
第3章工廠生產計劃管理的現狀分析.................13
3.1公司概況介紹...................13
3.1.1公司背景情況.................13?
第4章綜合生產計劃的優化.................24
4.1綜合生產計劃的相關策略...................24
4.1.1均衡策略..............24?
第5章工廠生產能力的提高改善....................39
5.1工廠實際產能效率的改善....................39
5.1.1人力資源管理的改進............................39?
 
第5章工廠生產能力的提高改善
 
5.1工廠實際產能效率的改善
除了制定一個優化的綜合生產計劃,如何從生產運營的各方面來確保綜合計劃的順利實施,以及如何通過對相關資源和約束的改進,提高整體產能使用效率來進一步優化生產計劃系統和降低綜合制造成本。本文將主要從人、機、物、法等幾個生產管理的基本方面來研究具體產能效率改進的方法和策略,優化系統運作以提高實際設備產能利用率。具體策略如下圖5.1的架構圖所示,主要包括人力資源管理的改進、設備綜合效率的改進、物料供應的改進和生產計劃控制方法的改進的四個方面入手。
不斷改進的產能利用率則直接影響工廠生產線的產能約束限制,顯著降低因產能不足而導致的加班、人員雇傭、庫存、合同外包等額外的成本,對提高服務質量和降低運作成本意義重大。
...............................
 
第6章結論
在當今快速消費品行業多變的市場需求和日益激烈的價格競爭環境下,企業如何充分利用有限的資源、采用柔性的生產能力,來應對不均衡的和不斷增長的需求并實現企業的利潤最大化,是生產計劃管理的主要研究方向。本文全面闡述了適合百事食品上海工廠的年度綜合生產計劃優化和整體生產能力平衡及提升的理論和方法,以最適合百事上海工廠特點的模式來改善生產經營活動,具體主要有以下幾個方面:
(1)在比較詳細地闡述綜合生產計劃編制理論和方法的基礎上,通過對多種非均衡需求的能力應對策略進行分析,對各策略下的整體營運成本進行綜合比較。得出的結論是采用多種能力計劃平衡的混合策略最優化,并通過建立線性規劃的數學模型來科學地編制一份年度綜合生產計劃。在內外部資源條件的有限范圍內,通過整合庫存量調整、人員招聘數量、加班時間、外包合同量和延期交貨等組合安排,實現滿足季節性不均衡需求和制造成本的最小化。
(2)通過對現有生產能力和相關瓶頸資源的分析,制定相應的生產能力利用率的改善計劃。在人力資源管理、設備綜合效率、物料供應管理和生產計劃控制等方面分別進行了具體的改進研究,并提供有效的整改措施和方法。產能利用率的改善可以增加生產系統的柔性和減小系統內外部的制約,生產能力計劃的改善能更好地服務于綜合計劃的安排,實現更低的制造營運成本和需求符合率。
(3)面對日益增長的需求預測量,制定中長期的產能擴張規劃戰略是本文另一個研究的重點,主要通過需求管理調節平衡和產能擴張策略來較大幅度地提升工廠生產能力。研究通過混合策略下的平穩產能擴張的模型,結合設備改造、合同外包和新增生產線的三種策略的混合使用,來制定符合百事上海工廠的中長期產能擴張計劃,以實現低投資風險、低成本投資和高柔性下的優化產能戰略規劃。
?參考文獻(略)
相關閱讀
    暫無數據
?
想畢業,找代寫
在線咨詢 在線留言咨詢
QQ在線
返回頂部
  • 少老师好湿好滑真紧好爽免费 徐闻县| 即墨市| 富锦市| 平阳县| 遂溪县| 辽宁省| 运城市| 长海县| 泸定县| 深圳市| 栖霞市| 伊宁县| 时尚| 金乡县| 太和县| 左权县| 湘阴县| 青河县| 中卫市| 赤城县| 天长市| 罗山县| 嵩明县| 冕宁县| 和硕县| 襄垣县| 鄂伦春自治旗| 遵义市| 马关县| 昌乐县| 金溪县| 会昌县| 宿松县| 华宁县| 溧水县| 克山县| 密云县| 南溪县| 石城县| 莎车县| 疏勒县| http://444 http://444 http://444